一、背景
二、快手磁力智投广告平台授权范围描述
| 版本 | 定义概述 | 操作 |
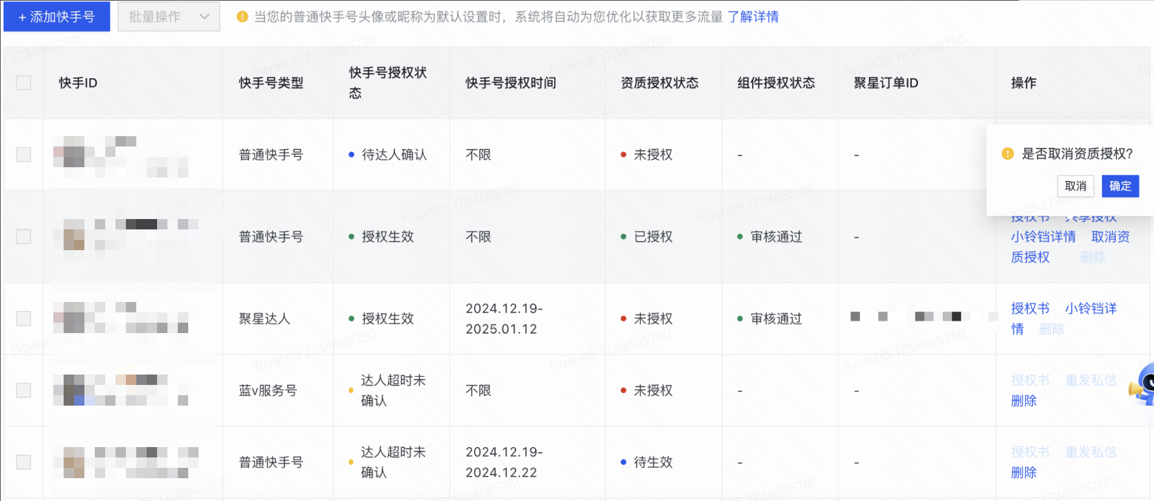
内容授权 (现有的授权) | 子账号赋予母账号内容版权。 母账号可对子账户内容进行宣传推广。 | 路径:快手dsp平台-资产-快手号授权-授权书
|
| 资质授权 | 母账号赋予子账号同等的行业营业执照资质。 子账号可进行资质合规范围内的内容发布。 | ①路径一:若子账号已添加,快手dsp平台-资产-快手号授权-点击【资质授权】→同意
②路径二:若子账号未添加,快手dsp平台-资产-快手号授权-添加快手号→输入快手号ID→快手广告资质授权→点击【添加授权】→确认
注意:内容授权状态为已授权后,资质授权才能生效。 |
三、快手广告操作注意事项
| 注意点 | 说明示意 |
| 1.是否支持批量操作? | 支持一键批量操作
|
| 2.是否有快手号类型限制? | 有,目前支持快手号类型:普通快手号、蓝V服务号
|
| 3.内容授权和资质授权是否需要同时操作? | ①快手广告内容授权状态为已授权后,资质授权才能生效。 ②可以同时操作授权,也可以分开授权;但需要注意:
(1)若内容授权已生效,即【快手号授权状态】显示授权生效,且已同意资质授权,快手广告资质授权自动更新为授权生效,若需要取消资质授权,可点击右侧操作→取消资质授权;
(2)若内容授权已生效,即【快手号授权状态】显示授权生效,若未同意资质授权,需要在右侧操作→点击资质授权,资质授权自动更新为授权生效;
(3)若内容授权未生效,即【快手号授权状态】显示待达人确认,右侧操作→资质授权灰度不可操作;
|
四、快手广告平台社区规则
2.社区审核内容都有哪些?
| 快手短视频广告 | 快手直播广告 | 评论区回复 | 私信内容 | 主页内容 | |
| 信息 | 文案、口播、标题、画面 | 封面、口播、画面、互动 | 商家回复内容 | 商家回复内容 | 昵称、背景图、简介、头像 |
| 图示 |
|
|
|
|
|
3.如何查看社区完整的内容规范?
手机端可直接查询,查询链路:首页→搜索【快手社区管理规范】或者【审核规则】→功能服务板块点击【查看】→违法/违规广告

快手广告开户可以咨询我们北京巨宣网络,我们公司已经投放互联网广告十几年,有丰富的广告投放经验,并且我们除了您给您开广告账户外还提供广告代运营服务,提升广告投放效果,北京巨宣网络一直深受广告主们的好评,如果有需要、想要了解的老板可以联系我们,北京巨宣网络联系电话:4009602809!
- 2026-04-06
快手广告2026年品牌广告春日营销创新产品 - 2026-03-27
快手广告 | 一键拆解爆款素材基因 - 2026-03-24
快手广告|商家38上新季生意爆发,多维拆解… - 2026-03-24
快手磁力引擎广告 | 对谈36氪,AI下凡驱动… - 2026-03-17
快手品牌广告如何代投实现GMV倍增? - 2026-03-16
快手广告功能更新 | 活动复盘大场活动 - 2026-03-16
快手广告丨磁力方舟「人群智能推荐」+「AI… - 2026-03-11
快手磁力方舟广告平台【AI智能复盘】,全新… - 2026-03-07
2026年快手广告短剧行业春节档营销新趋势 - 2026-03-04
快手磁力引擎广告2026体育营销招商手册上新…


































管理员
该内容暂无评论